Elonas Muskas yra sakęs, kad autonominiai automobiliai negali naudotis lidarais (lazeriniais detektoriais). Ir visgi, „Tesla“ surado sritį, kurioje lazeriai gali praversti – jie neskenuos kelio, o švies tiesiai į automobilių stiklus ir namų stogus.
„Tesla“ užpildė patento prašymą ypatingai lazerių sistemai. Ją sudarys, žinoma, patys lazeriai, kameros ir viską valdantys kompiuteriai. Lazeriai bus nukreipti į automobilio stiklus ir juos valys.
Paprastai tariant, kameros užfiksuos nešvarumus, kompiuteriai juos įvertins ir lazeris juos pašalins. Galima įsivaizduoti, kad taip būtų lengva pašalinti ledą bei šerkšną, tačiau „Tesla“ patente rašo, kad taip būtų nudeginami paprasti nešvarumai. Galite įsivaizduoti, kaip nuo jūsų automobilio stiklo pranyktų žuvę vabzdžiai.
Lazeriai galėtų valyti ir šoninius automobilio stiklus. Jie veiktų greitai ir visiškai tyliai. Kitoje stiklo pusėje esančios medžiagos (ir žmonės) būtų apsaugoti indžio-alavo oksido sluoksniu, kuris dengtų stiklus. Taip pat kalbama apie tai, kad pulsuojantis lazerio spindulys ir taip tikriausiai būtų saugus.

„Tesla“ patente pažymėtos lazerių vietos
© Patento atvaizdas
Kam to reikia? Na, geresnis matomumas visada yra gerai. Tačiau tokia sistema taip pat padėtų ir kameroms bei jutikliams. Išmanius autopilotus ar net visiškai autonominio vairavimo sistemas turintys automobiliai gali sutrikti nuo nešvaraus stiklo. Lazeris galėtų nuvalyti visą stiklą, net ir pačius tolimiausius jo kampus, kai tuo tarpu valytuvai jų nepasiekia. „Tesla“ svarsto įvairias naujas valytuvų konstrukcijas ir, galbūt, lazeris bus suderintas su kokia nauja valytuvų sistema.
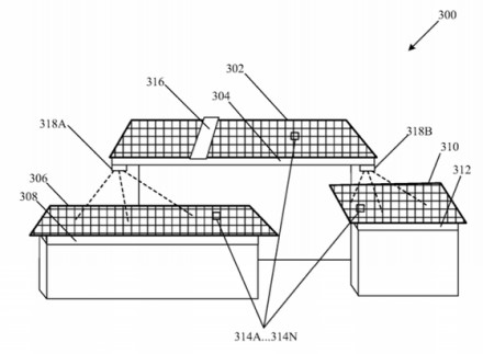
Tačiau šis išradimas padės ne tik automobiliams. Patente taip pat paminėtos ir stogus dengiančios saulės jėgainės. Kuo jos labiau pasidengia purvu, tuo neefektyviau dirba.

Lazeriai valytų ir saulės kolektorius
© Patento atvaizdas
Tai, kad „Tesla“ užpildė patentą, dar nereiškia, kad šis išradimas virs komerciniu produktu. Tikėtina, kad jis taip niekada ir nebus išvystytas. Kita vertus, būtų įdomu pamatyti, kaip tai veikia realybėje, todėl tikėsimės, kad jis pasieks bent jau prototipo stadiją.


















 Paieška archyve
Paieška archyve















